来源:IT之家
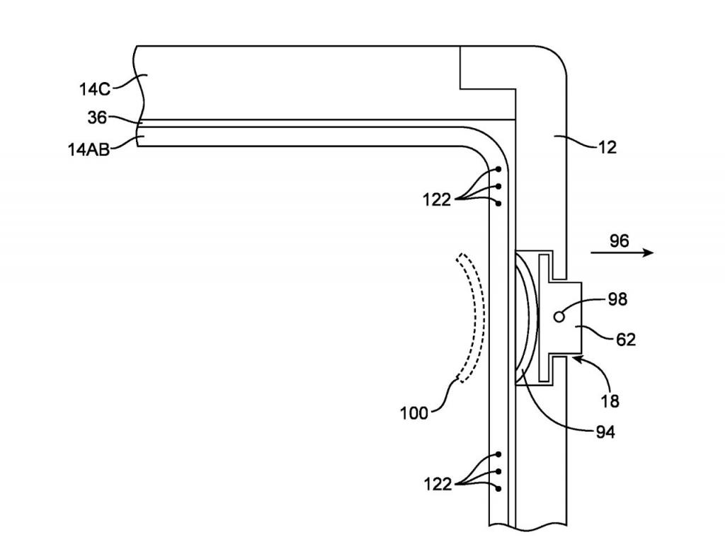
根据美国商标和专利局(USPTO)公示的清单,苹果获得了一项 iPhone 专利,在机身侧面装上一个 "Touch Bar",用于显示电量等信息,并支持相关的交互操作。
IT 之家注:这项专利最早于 2011 年提交,并于 2014 年获得批准。苹果公司在此前专利到期之后,于 2023 年 4 月再次申请了该专利,于近日再次获得批准。
该专利名为 " 带侧壁显示的电子设备 ",描述在 iPhone 侧面配有 OLED 或者其它柔性屏幕类型。

交互元素包括媒体控件、显示信息,来电者信息和部分系统控制等等,该屏幕还支持手势,进一步增强交互体验。
本文链接:http://www.28at.com/showinfo-16-11319-0.html苹果新专利获批:给 iPhone 侧面装上“ Touch Bar ”
声明:本网页内容旨在传播知识,不代表本站观点,若有侵权等问题请及时与本网联系,我们将在第一时间删除处理。